
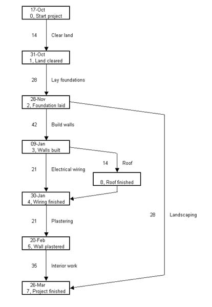
Earliest Start Time
We need to
find the earliest start date for each of the nodes. For
the first first node (the start of the project) this is
our start date. The next node is the earliest start of
the previous node plus its duration and so on through the
project to give :

What next?

|